Подарочные издания / Бизнес. Отрасли, профессии / Наука. Просвещение / Беспроволочный (беспроводной) телеграф
Энгельман И. Г. «Беспроволочный (беспроводной) телеграф». — Подарочное репринтное издание оригинала 1905 г. (Переплет ручной работы из натуральной кожи)
Нумерованное подарочное издание
Цена: 38 000 р.
Бесплатная курьерская доставка
-- Москва: 1 - 2 рабочих дня
-- Санкт-Петербург: 1 рабочий день
-- По России: 2 - 4 рабочих дня
Экспресс доставка в Москву
Можно забрать завтра с 09:00 утра
Получить рекомендацию по выбору книги, информацию по заказу издания:
Телеграм Телеграм WhatsApp WhatsApp 8 (800) 551-30-33
Автор / Редактор: Энгельман И. Г.
Редкое руководство содержит оригинальные схемы, чертежи и методики, ставшие фундаментом для развития беспроводных коммуникаций. Уникальный исторический документ, раскрывающий основы и практику внедрения радиосвязи на флоте в начале XX века.
Один из ранних научно-технических трудов посвящен беспроводному телеграфу - важному этапу развития технологий передачи сигналов на расстоянии. Это первое русскоязычное издание, которое подробно объясняет принципы работы беспроволочного телеграфа, устройств передатчиков и приемников и рассказывает о способах настройки оборудования и перспективах развития новых технологий связи.
Настоящее руководство составлено по поручению начальника учебно-минного отряда контр-адмирала К. М. Тикоцкого для класса телеграфистов, основанного при минной школе Балтийского флота в 1904 г. В издании описаны принципы работы радиостанций эпохи Русско-японской войны, а также радиостанции кораблей Российского императорского флота.
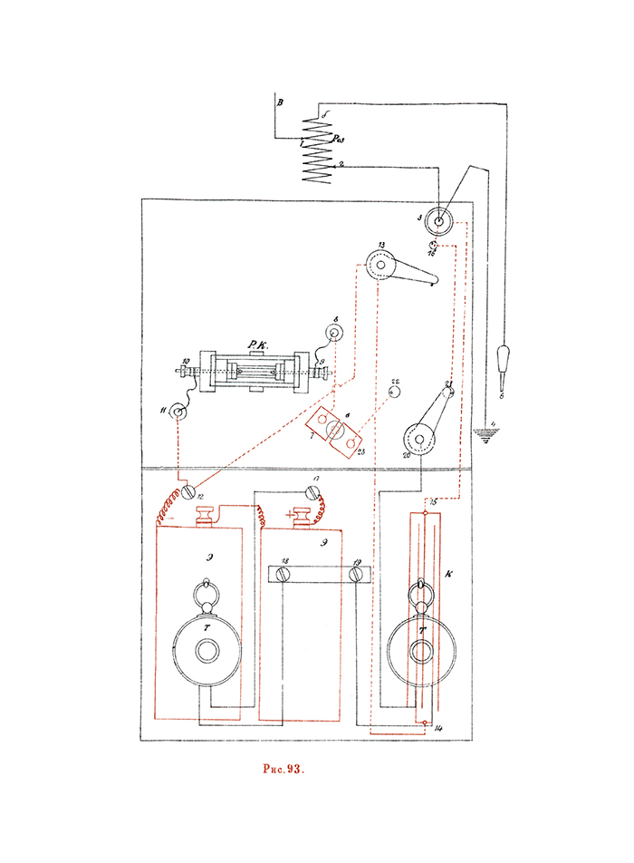
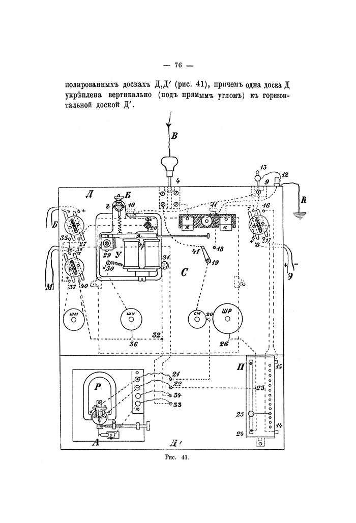
Учебник состоит из пяти отделов: в первом даны понятия колебательного разряда и электромагнитных волн; во втором приводится описание беспроволочного телеграфа А. С. Попова – Э. Дюкрете; в третьем описан беспроволочный телеграф системы «Телефункен»; в четвертом рассматривается азбука Морзе и работа на телеграфном ключе; в пятом рассказывается о беспроволочном телеграфе Г. Маркони.
Книга содержит более двухсот рисунков в тексте и на отдельных листах. При создании учебника автору оказал поддержку и дал ряд ценных указаний русский изобретатель радио, профессор Электротехнического института императора Александра III А. С. Попов.
Параметры подарочного издания:
Формат подарочной книги: 170 x 250 ммСтраниц, иллюстраций: 380 с.: ил.; 5 л. ил.
Артикул: 104815
Вес: 1.1 кг.
Размеры (д/ш/в): 26 / 19 / 5 см.
Переплет ручной работы из натуральной кожи
- Цельнокроенный кожаный переплет ручной работы
- Первосортная натуральная кожа благородного оттенка
- Дизайнерская тонированная бумага премиум-класса
- Многоэлементное, сложное тиснение
- Фактурный форзацный материал редких тонов и узоров
- Шелковый каптал и ляссе, безупречно сочетающиеся по цвету
- Филигранно украшенный кругленый корешок с декоративным узором
- Переплетный материал ведущих европейских фабрик
- Высочайшее качество печати на первоклассном оборудовании с полной передачей оттенков и тончайших деталей
- Эксклюзивное исполнение издания мастерами переплетного дела
- Коллекционный номерной экземпляр
Подарочная упаковка наших книг
Прилагается к данному эксклюзивному изданию:
Фирменный подарочный пакет с тиснением;
Фирменная подарочная коробка;
Бархатный мешочек ручной работы;
Издание упаковано в защитную пленку сразу по изготовлению;
Открытки с гравюрами и памятка по уходу за книгами;
Транспортная коробка и доп. упаковка (в случае курьерской доставки).
Подробнее про упаковку книг
Издание представлено в разделах:
Дополнительная информация:
Уникальность «Книжной Капеллы»































